In this article, we’ll take a look at three new power-management ICs—two linear regulators and one power supply monitor.
Related Information
The power supply circuit is perhaps not the most interesting or exotic portion of a modern electronic circuit. But let’s face it—nothing works without power.
Actually, not working at all could be considered a desirable problem compared to elusive performance limitations or subtle design flaws that make a circuit susceptible to failure under certain conditions. These are the issues that are particularly difficult to detect, diagnose, and remedy. They are also the issues that you really want to stop before they start.
This is why it’s so important to incorporate robust, reliable circuitry into all portions of your design. In this article, we’re focusing on the power supply. I think it is fair to say that a robust, high-performance electronic device begins with a robust, high-performance power supply circuit since weaknesses in the power supply and power distribution network can show up as problems just about anywhere else in the system.
Reducing Noise
Every PCB is subject to various types and sources of noise, but noise on the power supply rails is particularly undesirable because you’re sending that noise to every chip on the board. Thus, a logical place to start your noise mitigation efforts is with the power supply.
Analog Devices
The first new product we’ll look at is the ADP1764 from Analog Devices. This is a very-low-noise, low-dropout linear regulator suitable for high-current applications (the max output current is 4 A).

Courtesy of Analog Devices.
This regulator is intended specifically for powering noise-sensitive components, such as RF devices, high-performance data converters, and sensors.
The datasheet describes the power supply rejection ratio (PSRR) as “excellent,” and thus the part is a good candidate for situations where you need to reduce the ripple on a supply voltage generated by a switching regulator. However, the PSRR degrades significantly as frequency increases, so you need to consider the frequency characteristics of your switcher when evaluating the expected ripple suppression.
ON Semiconductor
The NCP163 from ON Semi is another linear regulator intended for noise-sensitive applications, such as the various data-converter, RF, and precision analog circuits incorporated into smartphones, cameras, and other products in the consumer electronics category. However, this part is clearly tailored for low-power applications—the maximum output current is 250 mA.
This regulator is also a good option when you need to suppress noise generated by a switcher. As you can see in the following plot, the PSRR is a little bit better than that of the ADP1764 for frequencies around 1 MHz.

Courtesy of ON Semiconductor.
Keeping an Eye on Your Power
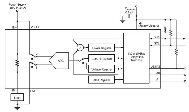
Texas Instruments also has a new IC in the power supply category, but now the goal is monitoring the power rail instead of generating it. The INA260 is a highly integrated device that provides important information about the power-supply voltage that you have so carefully created via other high-performance components. A microcontroller on the board can easily access the INA260’s voltage, current, and power monitoring data through an I2C-compatible communication interface.
The following application circuit shows the INA260 used as a high-side current sensor, though the device is also compatible with a low-side configuration.

Courtesy of Texas Instruments.
The INA260’s configurable “alert” pin can notify a microcontroller when one of the following conditions is detected:
- voltage is too low
- voltage is too high
- power is too high
- current is too low
- current is too high
And as the next plot shows, the INA260 can handle some seriously high over-current conditions.

Courtesy of Texas Instruments.
If you have experience with any new power-management ICs that you find particularly helpful, feel free to mention them in the comments.
